Сертифицированная для "пассивного дома" накладная конструкция на стальную (ST) и деревянную (TI) подконструкции обладает превосходными характеристиками
Фасадная система Schüco AOC 50 / AOC 60 позволяет легко создавать светопрозрачные крыши и крупноформатные вертикальные фасады на основе деревянных или стальных подконструкций на уровне стандарта "пассивного дома".
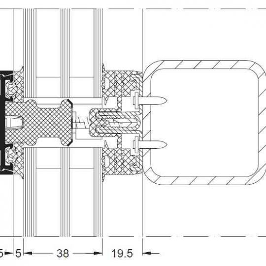
Большие размеры стекол в 2-камерных стеклопакетах не затрудняют перенос нагрузок и не нарушают положение винтового канала благодаря применению инновационных и запатентованных системных артикулов. В зоне крыши, к которой предъявляются специальные требования, инновационная система уплотнителей обеспечивает максимальную теплоизоляцию и оптимальную переработку за счет встроенного винтового канала.
Преимущества
- Теплоизоляция вертикальных фасадов и крыши на уровне стандарта "пассивного дома"
- Накладная конструкция шириной 50 мм и 60 мм на стальную и деревянную подконструкции для светопрозрачных крыш и вертикальных фасадов
- Три уровня водоотвода, многообразие способов оформления
- Встраивание автоматизированных верхнеподвесных или параллельно-отставных окон Schüco AWS 114: создание крупноформатных оконных конструкций для решения стандартных задач или дымо- и теплоотвода, с подключением к системе управления зданием
- Зажимные профили рам для установки окон Schüco AWS с фурнитурой Schüco TipTronic
- Класс взломоустойчивости до RC 2 и RC 3 проверен в системе на стальной и деревянной подконструкции
- Системные артикулы для большого веса стекла: до 1190 кг (сталь) и до 810 кг (дерево)
- Совместимость со встраиваемыми в здание фотогальваническими модулями
- В зоне крыши используется бутиловая уплотнительная лента и винтовой канал для обеспечения максимальной надежности монтажа
- Для переработчиков деревянных конструкций предлагается специальный базовый профиль с приспособлением для позиционирования




